『面積最大の直角三角形』解答


◆大阪府 CHECK さんからの解答。

m,nを正の整数(m<n)として、直角三角形の斜辺を
2+n2とおく。

このとき、
(m2+n22
=(m2−n22+4(mn)2

∴三平方の定理より残りの二辺の長さは
2−n2と2mnと表せる。

2−n2=60のとき、
(m+n)×(m−n)=60より

(m+n,m−n)は
(60,1)(30,2)(20,3)
(15,4)(12,5)(10,6)

このうち、mとnが共に整数となるのは
(30,2)(10,6)の2つ。

∴(m,n)=(16,14)(8,2)で面積が大きいのは
(16,14)のときで
その面積は13440

2mn=60のとき、mn=30より

(m,n)=(30,1)(15,2)(10,3)(6,5)で
面積が大きいのは(30,1)で
その面積は26970

よって面積が最大となるのは
(m,n)=(30,1)のときで、斜辺の長さは901

(備考)

2+n2とm2−n2と2mnを使うというやり方は拡張すれば、三角形の角の一つが120度の場合にも適用できます。


◆広島県 清川 育男 さんからの解答。

斜辺をBmm、他の一辺をAmmとする。

602+A2=B2

2−A2=3600

(B+A)(B−A)=3600

X=B+A,Y=B−A とおく。X>Y。

B=(X+Y)/2, A=(X−Y)/2

したがって、(X,Y)は
(偶数,偶数)かまたは(奇数,奇数)でなければならない。

X*Y=3600 (双曲線)
Y=2のときX=1800
B=901,A=899

このとき直角三角形の面積は最大になる。

60*899/2=26970
602+8992=9012

答え 901mm


◆京都府 釜坂 正芳 さんからの解答。

斜辺をa,他の辺をbとすると,
面積は 60×b÷2=30bであるから,bが最大になるaを求めればよい。

a2−b2=602 から
(a+b)(a−b)=3600・・・*

a+b=m ,a−b=nとすると
b=(m−n)/2となるから
m−nを最大にすればよい。

m,nはともに奇数か,偶数であるが,*式の右辺が偶数なのでm,nはともに偶数。

したがって,m=1800,n=2のとき,m−nは最大。

このとき,a=901,b=899で,
面積は 26970(mm2)

斜辺を60としたとき,直角に対応する点は直径60の円周上にあり,残りの辺を無理数まで許したとしても,三角形の面積の最大値は

60×30÷2=900 

したがって,面積最大のときの斜辺は 901mm

【感想】

最初,(m2+n2)/2,(m2−n2)/2,mnが頭に浮かびましたが,これは,直角三角形になる十分条件だけど,必要条件じゃないことに気づき,やめました。
でも,いろんな解法があるような気が・・・。
他の方の解答が楽しみです。


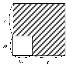
◆マレーシア ヨッシー さんからの解答。

60 を斜辺とすると、これが最大となってしまうので、
60 は斜辺ではないとします。

  

図1

のように、1辺60mm の正方形に、斜線部分を加えて、大きな正方形を作ったとき、斜線部分の面積が、平方数で表されるならば、この大きな正方形の1辺を斜辺とすれば、求める三角形が得られます。

斜線部分が、平方数になるということは、斜線部分と面積の等しい1辺が整数mmの正方形ができるということです。

  

図2

のように、面積を置き換えたとすると、

2xy=(60-x)2 より、

y=(60-x)2/2x

が成り立ちます。

できるだけ小さな整数xについて、yが整数になるようにxを操作すると、
x=2 のとき、y=841 となります。

この時、大きな正方形の1辺は
60+841=901
となり、これが求める斜辺の長さとなります。

答え 901mm

ちなみに、直角三角形の3辺は、60,899,901 です。


 『面積最大の直角三角形』へ

 数学の部屋へもどる